Конструкционные особенности
Устройство терморегулятора достаточно простое и состоит из термоклапана и регулирующего элемента. Поскольку в зависимости от условий, системы отопления монтируются с различными по диаметру трубами, то и терморегуляторы выпускаются для труб различного диаметра. Что касается регулирующего элемента (термостатической головки), то его размеры имеют стандартную величину, поэтому подходят под регуляторы любых моделей, независимо от фирмы-производителя.
Терморегулятор для радиатора отопления состоит из двух частей — специального вентиля (клапана) и термостатической головки (регулятора)
Моделей клапанов и регуляторов не так мало, поэтому перед тем, как их устанавливать, лучше ознакомиться с имеющимися моделями, их устройством, а также принципом работы.
Механические регуляторы тепла на батарее
Данный вид головок отличается от предыдущих тем, что здесь уже появляется возможность регулировки температуры в автоматическом режиме. Главным элементом конструкции является сильфон – эластичный элемент цилиндрической формы, заполненный температурным агентом. Температурный агент – это жидкость или газ с большим коэффициентом температурного расширения.
Процесс регулирования температуры при использовании механического регулятора происходит следующим образом:
- Сильфон подпирает шток, который закрывает просвет клапана;
- При увеличении температуры вещества в сильфоне начинается давления на шток, и он постепенно опускается, закрывая проходное сечение;
- Проходящий через радиатор объем теплоносителя уменьшается, что провоцирует его остывание;
- Температурный агент тоже остывает и возвращается в исходное состояние, поднимая шток;
- При поднятом штоке теплоноситель снова поступает в радиатор в полном объеме, и после этого цикл повторяется.
В качестве температурного агента может использоваться газ или жидкость, в зависимости от чего и выделяют два вида сильфонов:
- Газовые. Характеризуются более высокой скоростью реакции на температурные изменения, но на порядок сложнее в производстве.
- Жидкостные. Жидкость изменяет свой объем несколько медленнее, но такой сильфон легче создавать.
Механические термостатические головки устанавливаются по направлению к центру комнаты – такое расположение повысит точность измерения температуры. Конечно, из-за крупных размеров установить головку подобным образом не всегда получается, и для этих ситуаций отлично подходят выносные датчики.
Выносной датчик подключается к регулятору посредством небольшой трубки, которая и будет передавать устройству информацию об изменениях температуры в выбранной точке комнаты. При таком контроле достигается высокая точность поддержания температурного режима, но у выносных датчиков есть заметный недостаток – они обходятся довольно дорого.
Рекомендации по выбору
В зависимости от типа системы отопления и условий монтажа прибора, для управления потоком теплоносителя могут применяться комплекты клапан – термоголовка в различных сочетаниях. В однотрубных системах обогрева рекомендуется устанавливать клапаны с повышенной пропускной способностью и малым гидравлическим сопротивлением (маркировка изделия производства DANFOSS – RA-G, RA-KE, RA-KEW).
Та же рекомендация касается и двухтрубных самотечных систем, где теплоноситель циркулирует естественным образом, без принудительного побуждения. Если же схема обогрева – двухтрубная с циркуляционным насосом, то следует выбрать клапан с возможностью регулировки пропускной способности (маркировка DANFOSS – RA-N, RA-K, RA-KW). Эта регулировка производится достаточно просто и специальный инструмент для нее не нужен.
Когда вопрос с подбором клапана решен, нужно определиться с типом термоголовки. Они предлагаются в следующих исполнениях:
- С внутренним термоэлементом (как на схеме, представленной выше).
- С выносным температурным датчиком.
- С внешним регулятором.
- Электронные (программируемые).
- Антивандальные.
Обычный терморегулятор для радиаторов отопления с внутренним датчиком принимается к установке, если есть возможность расположить его ось горизонтально, чтобы воздух помещения свободно омывал корпус прибора, как показано на рисунке:
Внимание! Не допускается установка терморегулятора на батарею в вертикальном положении, тепловой поток, поднимающийся от подающего трубопровода и корпуса клапана, станет оказывать влияние на сильфон, в результате чего устройство будет работать некорректно. Если горизонтальный монтаж головки невозможен, то лучше приобрести к ней выносной датчик температуры в комплекте с капиллярной трубкой длиной 2 м
Именно на таком расстоянии от радиатора можно расположить данное устройство, прикрепив его к стене:
Если горизонтальный монтаж головки невозможен, то лучше приобрести к ней выносной датчик температуры в комплекте с капиллярной трубкой длиной 2 м. Именно на таком расстоянии от радиатора можно расположить данное устройство, прикрепив его к стене:
Помимо вертикального монтажа для покупки выносного датчика бывают и другие объективные причины:
- радиаторы отопления с регулятором температуры находятся за плотными шторами;
- в непосредственной близости от термоголовки проходят трубы с горячей водой либо присутствует другой источник тепла;
- батарея стоит под широким подоконником;
- внутренний термоэлемент попадает в зону сквозняка.
В комнатах с высокими требованиями к интерьеру батареи зачастую прячут под декоративными экранами из различных материалов. В таких случаях попавший под кожух терморегулятор регистрирует температуру скапливающегося в верхней зоне горячего воздуха и может целиком перекрыть теплоноситель. Мало того, полностью закрыт доступ к управлению головкой. В этой ситуации выбор следует сделать в пользу выносного регулятора, совмещенного с датчиком. Варианты его размещения показаны на рисунке:
Электронные термостаты с дисплеем также бывают двух видов: со встроенным и съемным блоком управления. Последний отличается тем, чтоб электронный блок отсоединяется от термоголовки, после чего она продолжает функционировать в обычном режиме. Назначение подобных устройств — регулировка температуры в помещении по времени суток в соответствии с программой. Это позволяет снижать отопительную мощность в рабочее время, когда дома никого нет и в прочих подобных случаях, что приводит к дополнительной экономии энергоресурсов.
Когда в доме есть маленькие дети, которым все хочется попробовать своими ручками, лучше установить терморегулятор антивандального типа с кожухом, предохраняющим настройки прибора от неквалифицированного вмешательства. Это касается и термостатов, стоящих в других общественных зданиях: детских садах, школах, больницах и так далее.
Типы термостатических элементов
Различают механические, электронные и полуэлектронные термоклапаны для радиаторов отопления.
Рекомендуем ознакомиться: Как выбрать игольчатый кран для трубопровода?
По месту расположения датчика тепла различают модели:
- со встроенным терморегулятором;
- с отдельно расположенным терморегулятором (дистанционным).
Классификация по назначению
В зависимости от вида системы отопления клапаны бывают:
| Для одноконтурной системы отопления | Клапан имеет более объемный корпусный цилиндр и серый регулятор. На корпусе такого регулятора есть маркировка «G». Используется в одноконтурных системах индивидуального отопления. |
| Для двухконтурных систем отопления. | Используется для регулирования климата в помещениях с центральной подачей, где давление в системе значительное. Маркированы такие устройства буквами «N» или «D». |
Для корректной работы термоклапана в многоквартирном доме, на однотрубной системе отопления, перед клапаном обязательно должна быть установлена перемычка, соединяющая ввод и вывод – байпас.

Если такой перемычки не будет, то ваш терморегулятор будет работать на весь стояк, что вряд ли понравится соседям.
По материалу изготовления и конфигурации
Клапаны изготавливаются из различных материалов:
- из нержавеющей стали – дорогие, но самые долговечные модели;
- бронзы, покрытой никелем и хромом;
- никелированной латуни.
По конфигурации термоклапаны бывают прямые, угловые вертикальные, угловые горизонтальные.
Различаются устройства и максимальной амплитудой регулируемых градусов. Чем больше возможностей, тем дороже цена изделия.
Устройство и особенности работы прибора
Рассмотрим, как устроен и по какому принципу работает термостатический клапан.
Как устроен термоклапан?
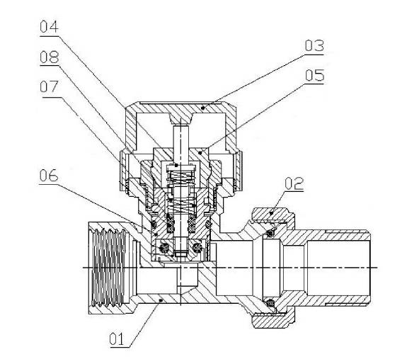
Прибор состоит из двух основных рабочих элементов — клапана и термостатической головки. Первый чаще всего изготовлен из латуни, иногда никелированной, его нижняя часть блокирует трубу, а верх продолжает нажимной шток и пружину.
Клапаны бывают и бронзовыми (никелированными или хромированными), а также из нержавейки. Последние встречаются редко и стоят дорого.
Что происходит внутри клапана? В устройстве головки присутствует чувствительный элемент. Он располагается в полости с газом или жидкостью (сильфоне).
Нагревание провоцирует расширение в этой среде, элемент выталкивается вперед, давит на шток, пружину, а позже на клапан. Сила нажима определяет степень перекрытия.
На рисунке представлено устройство с жидкостью в сильфоне. Газовые термостаты быстрее реагируют на температурные изменения (5-10 мин), но и стоят дороже. Особой разницы от этого при эксплуатации нет
Дополнительная часть термостата — заглушка или рукоятка со шкалой. На некоторых приборах есть электронные регуляторы.
Принцип действия устройства
Давайте подробно разберемся с принципом работы термостатических клапанов для батарей. Механика их действия схематично выглядит так: когда меняется температура теплоносителя или окружающей среды, на эти колебания реагирует газ или жидкость в головке.
Чувствительный элемент воздействует на нажимной шток, и тот уходит вверх или опускается вниз. При движении штока вниз клапан блокирует поток теплоносителя, что останавливает приток тепла, замедляет скорость циркуляции. В батарею не поступает тепло, поэтому температура в помещении не растет.
И здесь важно отличать термостатический клапан от регулировочного. Последним можно снижать пропускную способность клапана и так регулировать температуру батарей
При повороте регулятора или вводе цифрового значения на панели, пользователем устанавливается исходное значение давления в термоголовке, под которое она и «подстраивается» в процессе работы
Регулировочный вентиль не имеет термоголовки. Термостат же открыт или закрыт, им управляет термоголовка, он не меняет объем теплоносителя, а только включает и выключает его подачу
Разберем принцип работы термоклапана на примере. Так, устанавливаем прибор на рекомендуемую температуру в 20 градусов. Обычно это тройка или самая большая точка на шкале регулятора.
Что происходит внутри устройства? Если окружающий воздух нагревает головку до 21 градуса, т. е. повышает установленную температуру на 1 градус, она нажимает на шток, подача теплоносителя в батарею полностью блокируется клапаном.
Радиатор не нагревается, температура в помещении начинает снижаться. Когда температура окружения снизится до 19 градусов, термоклапан откроется, батарея начнет нагреваться.
Как подобрать термоголовку самостоятельно
Термоголовки на батарею бывают трех основных видов:
- ручные;
- механические;
- электронные.
Ручные термоголовки
Термоголовка ручного типа, по сути, является аналогом шарового крана, так как регулировка уровня потока теплоносителя производится пользователем самостоятельно на основании данных установленного в помещении термометра или собственных ощущений.
Регулятор с ручным способом управления
Преимуществами данного вида являются простота устройства и низкая стоимость. Среди недостатков можно выделить небольшой срок эксплуатации, так как при вращении рукоятки с течением времени ослабевает внутренний механизм и теряется его герметичность.
Оборудование с ручным управлением чаще всего устанавливается на чугунные радиаторы отопления.
Механические термоголовки
Более популярными являются механические модели, работающие по принципу описанному ранее. В качестве термочувствительной среды могут выступать:
- жидкость. Жидкостная термоголовка отличается меньшей стоимостью и более простым устройством, что продлевает срок полезного использования устройства. Но вместе с этим и меньшим быстродействием;
- газ. Производство газонаполненных термоголовок более сложное, что отображается на цене оборудования.
Подключение должно осуществляться таким образом, чтобы устройство было направлено внутрь помещения. Это повысит точность работы прибора и температурного режима соответственно.
Чтобы в любой ситуации была возможность правильно произвести монтаж оборудования, производителями выпускаются:
- со встроенным датчиком температуры (рисунки выше);
- с выносным датчиком, который устанавливается в наиболее оптимальном месте и соединяется с основным устройством капиллярной трубкой.
Регулятор с отдельным датчиком температуры
Электронные термоголовки
Самая современная электронная термоголовка оснащена микропроцессом, который и воздействует на клапан. Для работы оборудования требуется автономное питание (батарейки).
Устройство с микропроцессором для автономной работы
Стоимость данного оборудования максимально высокая, но устройство позволяет:
- выставить определенный температурный режим в дневное и ночное время, что позволяет добиться комфорта при сне;
- выставить температуру по определенным дням недели, что нужно, например, в загородном доме с временным проживанием.
Производители
При выборе термоголовки важно определить не только вид устройства, но и производителя оборудования, от которого зависит надежность и долговечность эксплуатации. Специалисты рекомендуют:
датскую компанию Данфосс, изготавливающую термоголовки всех видов
Наибольшей популярностью пользуются устройства серии danfoss RA и RTD (теперь частично серия RTR) – универсальное оборудование для любых типов систем;
датскую компанию Данфосс, изготавливающую термоголовки всех видов. Наибольшей популярностью пользуются устройства серии danfoss RA и RTD (теперь частично серия RTR) – универсальное оборудование для любых типов систем;
Термоголовка от датской компании
- немецкие компании Heimeier, производящая оборудование под брендом RTL (РТЛ), Buderus (Будерус), входящая в состав концерна Bosch Thermotechnik GmbH и Oventrop (Овентроп);
- российско-итальянская компания Valtec (Валтек).
Особенности термоклапана
Ранее упоминалось, что он является универсальным, то есть на него можно устанавливать любой вид термоголовки. Однако, несмотря на это, он имеет две разновидности. Они зависят от того, в какой системе отопления должен использоваться кран. однотрубной или двухтрубной.
Разновидностями термоклапана не стоит пренебрегать, ведь, установив в однотрубную систему кран для двухтрубной. радиатор будет плохо прогреваться. Причиной этого является то, что запорная арматура для 2-трубной системы имеет высокое гидравлическое сопротивление. Фактически оно вдвое больше такого показателя вентилей для 1-трубной системы. Чтобы достичь такого сопротивления, производители делают малое проходное сечение. Оно же позволяет уменьшить давление на вентили и сбалансировать давление в системе. Из-за этого при условии низкого давления (характерно для 1-трубной системы) через кран поступает мало теплоносителя.
Для 1-трубных систем подходят те вентили, проходная способность которых равна или превышает 3.
Монтируют электронный терморегулятор на батарею весьма просто. Для этого выполняют следующие действия:
- Перекрывают стояк и спускают воду.
- У радиатора отрезают кусок трубы. Его длина должна соответствовать длине термостатического вентиля. По сути дела трубу перерезают в одном месте.
- Демонтируют часть трубы, которая осталась в радиаторе. Эти шаги не выполняют, если система отопления только создается или стоит кран с такими размерами, как и у нужного вентиля.
- Откручивают от термовентиля штуцер с американкой.
- Штуцер фиксируют в радиаторе, а основание крана на трубе.
- Прикладывают кран до штуцера в радиаторе и затягивают американку. Вентиль должен находиться так, чтобы шток «смотрел» в сторону.
- Фиксируют электронную или механическую термоголовку.
Особенности установки являются такими:
- термостат обычно ставят на вводную трубу. При этом стрелка на нем должна совпадать с направлением движения теплоносителя;
- электронное устройство всегда должно находиться в горизонтальном положении. Запрещается размещение термоголовки над трубой. Это потому, что тепло от трубы будет нагревать цилиндр и вызывать ненужное перекрытие радиатора. Следствие — холодное помещение;
- большинство электронных и механических регуляторов настроены для монтажа на высоте 40-60 см. Если же разместить их на высоте 10-15 см (нижнее подключение батареи), то в помещении будет слишком тепло. Решить проблему с нижним подключением можно благодаря перенастройке терморегулятора, использованию выносного датчика или покупкой специально предназначенного регулятора;
- если система отопления является однотрубной, то вводную и выводную трубу правильно соединять дополнительной трубой. То есть надо создавать байпас.
Счетчик тепла на батарею Какой обогреватель можно приобрести для дома Регулятор температуры для твердотопливного котла Регулировка тепла в батареях отопления
Схемы подключения клапана к системе отопления
Когда есть понимание, что такое трехходовой клапан и в чем состоит его работа, можно рассмотреть различные схемы подключения, зависящие от назначения и роли элемента в отоплении дома. Установка термосмесительного 3-ходового клапана производится в 4 случаях:
- Для защиты твердотопливного котла от воздействия конденсата и температурного шока после внезапных отключений электроэнергии.
- Теплоноситель в контурах теплых полов должен прогреваться до 45 °С, температуру поддерживает смесительный узел с трехходовым краном.
- Для поддержания необходимой температуры воды в разных ветвях системы.
- Когда требуется подключить бойлер косвенного нагрева к одноконтурному газовому котлу.
Чтобы защитить тепловой агрегат на твердом топливе от образования конденсата, нельзя во время его разогрева допускать подачу в котловой бак остывшей воды из радиаторной сети. Для этого используется следующая схема подключения котла с байпасом и трехходовым смесительным клапаном:
Схема работает так. Пока теплогенератор не прогрелся, вода циркулирует по малому кругу через байпас. При нагреве теплоносителя в обратке до 50—55 °С клапан начинает открываться и подмешивать холодный теплоноситель из системы. При выходе отопителя на рабочий режим байпас перекрывается и весь поток идет через радиаторы. Подробнее эта тема раскрыта на видео:
В системе теплых полов данный элемент выполняет те же функции. Циркуляционный насос гоняет теплоноситель по греющим контурам до тех пор, пока он не начнет остывать. Как только это произойдет, сработает датчик и термоголовка, после чего трехходовой клапан станет добавлять в замкнутый контур горячую воду, идущую от котла. Как своими руками правильно выполнить монтаж коллектора теплых полов, насоса и клапана, показано на схеме:
Насос заставляет циркулировать воду по контурам теплого пола, а клапан поддерживает ее температуру на уровне 35…45 градусов
Следующий пример использования и подключение этой важной детали – обвязка твердотопливного теплогенератора и буферной емкости – аккумулятором тепла. Чтобы прогреть ее целиком достаточно быстро, температура подаваемого теплоносителя должна быть от 70 до 85 °С, каковая вовсе не нужна в системе радиаторного отопления
Понизить ее как раз и помогает трехходовой клапан, установленный за емкостью вместе с отдельным циркуляционным насосом.
В схеме с теплоаккумулятором и ТТ-котлом применяется 2 смесительных клапана, каждый регулирует температуру в своем контуре
Сложная отопительная система большого коттеджа может иметь множество потребителей, подключаемых посредством гидрострелки и распределительного коллектора. Причем в каждый из контуров надо подать теплоноситель с разной температурой. Самая высокая нужна бойлеру косвенного нагрева, поэтому на подводке к нему регулирующей арматуры нет. Остальным потребителям нужен более холодный теплоноситель, а потому они подключены через трехходовые клапаны.
В каждом контуре схемы стоит трехходовой вентиль, поскольку нужно готовить воду с разной температурой. Только бойлер ГВС подключен к гребенке напрямую
В схеме с бойлером косвенного нагрева и одноконтурным газовым котлом тоже не обойтись без 3-ходового крана. Задача элемента – переключать поток теплоносителя на змеевик бойлера ГВС по команде контроллера (срабатывает электропривод).
Пока змеевик прогревает бойлер, отопление бездействует, поскольку клапан переключает поток между 2 линиями
Запорная арматура
В отопительных системах запорная арматура на отопление используется для контроля подачи теплоносителя, а также для размыкания контура. Она позволяет контролировать процесс отопления, делая его более эффективным и рациональным. В большинстве случаев запорный кран на батарею отопления устанавливается на участках обвязки радиатора трубопроводом. Помимо функциональных преимуществ такое решение несет и практическую пользу – перекрыв запорный вентиль для батареи отопления, домовладелец сможет провести ремонт отопительного прибора без остановки работы всей системы обогрева. В настоящий момент запорная арматура для отопления представлена широким перечнем приборов.
Часто используются в отопительных системах следующие типы устройств:
- запорные клапаны;
- шаровые краны;
- игольчатый вентиль;
- задвижки.
Эти элементы изготавливаются из прочных металлов устойчивых к коррозии и действию высоких температур. Арматура запорного типа защищает контур от возникновения критических аварийных ситуаций и повышает надежность системы отопления, способствуя минимизации негативных последствий при выходе из строя отдельного отопительного прибора.
Шаровые краны
Шаровый кран – это запорная арматура для радиаторов отопления. которая устанавливается для регулирования подачи теплоносителя. Конструкция арматуры предусматривает наличие накидной гайки, внутренней резьбы, заглушки и воздуховыпускного устройства, предназначенного для спуска воздуха из системы.
При выборе данного вида арматуры необходимо обратить внимание на материал, из которого изготовлен кран и наличие уплотнительных колец, повышающих срок эксплуатации элемента в контуре. Хорошо себя зарекомендовали латунные краны, которые отличаются повышенной износостойкостью и устойчивостью к коррозии
Запорные клапаны
Данный вид арматуры применяют для обеспечения возможности замены радиаторов без слива теплоносителя с контура. По особенностям конструкции различают угловые и прямые запорные клапаны. Причем некоторые модели могут оснащаться спускным механизмом для плавного снижения давления в контуре. Для запорных клапанов характерна шланговая насадка – она позволяет производить монтаж устройства максимально быстро и просто.
Игольчатый кран
Функции, которые выполняет игольчатый кран для отопления, могут быть различными. В зависимости от конструкции это устройство может выполнять запорную, регулирующую и балансировочную функцию. В системах отопления чаще всего используют запорный игольчатый вентиль для радиатора отопления, который позволяет плавно перекрывать поток и избегать возникновения гидроударов, губительных для системы. В отличие от шарового крана, имеющего два положения работы, игольчатый вентиль может работать в трех положениях:
Данный тип арматуры выполняет исключительно запорную функцию. Из-за особенностей конструкции он может работать в двух режимах – механизм оборудован запирающим элементом, расположенным перпендикулярно к потоку теплоносителя. В открытом положении задвижка подает теплоноситель в контур, а в закрытом препятствует его циркуляции. Среди особенностей задвижки стоит отметить малое гидравлическое сопротивление, создаваемое в контуре, оптимальный диаметр внутреннего сечения, который совпадает с диаметром трубопровода, простой монтаж и высокую надежность.
4 Процесс установки автоматических агрегатов
Затем следует открыть клапан радиатора, расположенный в месте подачи воды в систему. После этого перекрывают все краны. Далее нужно снять адаптер. Перед проведением этих манипуляций необходимо застелить напольное покрытие тряпкой или полотенцем. Корпус нужно удерживать разводным ключом, а вторым открутить гайки, расположенные на трубе и адаптере радиатора. Затем агрегат отвинчивают от корпуса.
После снятия старой конструкции переходят к установке новой. Манипуляции происходят в обратном порядке. Резьбу обязательно необходимо обернуть фум-лентой. По завершении монтажных работ следует приступить к установке нового воротника. Нередко его бывает трудно демонтировать, поэтому элементы срезают ножовкой или отверткой, а затем снимают.
Далее производят установку терморегулятора. Его монтируют на воротник, ориентируясь по указателям в виде стрелок. Затем на него крепят клапан и хорошо закручивают все гайки. На последнем этапе нужно открыть вентили и заполнить радиатор водой, проверить функциональность системы и отсутствие протечек. В двухтрубных системах монтаж осуществляется на верхней подводке.
Регулирующие (запорно-регулирующие) клапаны отопления
Регулирующие и запорно-регулирующие клапаны отопления осуществляют систематическое изменение потока теплоносителя, от максимума до минимума, при открытом и закрытом положении клапана. Отсечные или запорные клапана управляют теплоносителем дискретно при полностью открытом или полностью закрытом положении затвора. В состав регулирующего клапана входят три основные блока: корпус, дроссельный узел и привод клапана. Запирающим и регулирующим элементом клапана является дроссельный узел
При выборе втулки, седла, плунжера следует обращать внимание на условия эксплуатации клапана. Учитывается среда и ее температура, наличие примесей, пропускная способность
Основным и важным значением в работе клапана является правильное направление подачи рабочей среды. Обычно оно промаркировано стрелкой на рабочей поверхности корпуса.
Регулировка батарей при помощи термостата
Чтобы обеспечить постоянное поддержание в помещении заданной температуры, пользуются терморегуляторами для радиаторов (термостатами). Эти устройства имеют и другие названия – терморегулирующий клапан, термостатический вентиль и т.д. Названий немало, но все они относятся к одному изделию.
Термовентиль и термоклапан – это нижняя часть устройства, а термоголовка и термоэлемент – верхняя. Большинство таких изделий работает без источников питания. Исключением являются модели, оснащенные цифровым экраном, в которых в термостатическую головку помещают батарейки. Менять их часто не придется, поскольку потребление токов незначительно.

Радиаторный термостат состоит из нескольких комплектующих:
- термостатического клапана, который называют «корпусом», «термовентилем», «термоклапаном»;
- термостатической головки или «термостатического элемента», «термоэлемента», «термоголовки».
Производят корпус (клапан) из металла, чаще из бронзы или латуни. Внешне его конструкция напоминает ручной вентиль. Многие производители делают нижнюю часть
радиаторного термостата унифицированной. Это означает, что на один корпус можно монтировать разные типы головок вне зависимости от их изготовителя.
Таким образом, на термоклапан допускается установка термоэлемента с разным управлением – ручным, механическим или автоматическим, что очень удобно. Если появилось желание поменять способ регулировки, покупать все устройство нет необходимости, потребуется только поставить иной термостатический элемент.

Автоматические регуляторы отличаются принципом воздействия на запорный механизм. В ручном устройстве его положение изменяют поворотом рукоятки. Что касается автоматических моделей, то в них обычно имеется сифон, который оказывает давление на
подпружиненный механизм. В электронных изделиях рабочим процессом управляет процессор.
Сильфон является основным элементом термоэлемента (термоголовки). Имеет вид небольшого герметичного цилиндра, внутри которого находится жидкость или газ. Оба эти вещества обладают общим свойством – их объем зависит от температуры. При нагревании газ и жидкость начинают значительно увеличиваться в объеме и тем самым растягивать цилиндр.
Сильфон при давлении на пружину перекрывает поток теплоносителя. Когда объем рабочей среды по мере ее остывания уменьшается, пружина поднимается и тем самым поток жидкости увеличивается, а радиатор нагревается вновь. Благодаря использованию такого устройства, в зависимости от его калибровки заданную температуру можно поддерживать с большой точностью – до одного градуса.

Перед тем, как пользоваться радиатором, каждый, кто решил приобрести термостат для него, должен решить, какой у него должен быть вид регулировки температуры:
- ручной;
- автоматический;
- со встроенным или выносным датчиком.

























































