Инструменты
Если все-таки перевешивание дверей будет осуществляться своими руками, холодильник уже давно не на гарантии, тогда начнем с необходимого подручного инвентаря:
- Несколько отверток разного формата и размера.
- Гаечный ключ.
- Шестигранник.
- Пассатижи.
- Петли для дверцы морозильной камеры (эта деталь в комплект не входит, а для разных сторон используются разные петли). Приобрести можно в сервис-центре или на рынках запчастей.
Статья по теме: Рулонные шторы блэкаут – прохлада в самый жаркий день

После того как место и инструмент для работы готовы, можно приступать к выполнению.
Инструкция
Итак, опишем более подробно каждый шаг, включая нюансы, как переставить уплотнитель двери холодильника Атлант:
- Выключить прибор из сети. Рекомендации техники безопасности еще никогда лишними не были.
- На верхней части проема заметны винты, которые следует открутить. Они сдерживают верхнюю часть крышки. После этого он легко снимается.
- В правой стороне двери располагается навес. Его необходимо переставить на левую часть. Для того чтобы начать откручивать крепления на нем, двери холодильника необходимо плотно закрыть. Навес сверху выглядит как пластина с вкрученной туда осью дверцы.
- Открутив навес, необходимо переставить его в противоположную сторону. При этом также вставить в пластину ось.
- Далее нужно чуть приоткрыть дверцу, после чего аккуратно снять ее с нижнего навеса. Дело в том, если сильно распахнуть двери или начать ее дергать, можно легко повредить втулку нижнего навеса. Тогда задача значительно усложнится.
- Верхняя часть навеса оснащается специальной заглушкой, с той стороны, с которой нет двери. Этот элемент аккуратно снимается отверткой, после чего переставляется на противоположную сторону.
- После того как двери будут сняты, необходимо переставить ручку в противоположную сторону, если модель имеет навесную ручку. Когда ручка переставлена, можно перейти к нижним навесам дверей.
- Используя шестигранник, откручивается нижняя планка холодильника, за которой скрывается крепление для дверей.
Используя гаечный ключ, откручивается гайка, скрепляющая ось. Она снимается и перекручивается на другую сторону.
После того как дверь надеты на нижнюю ось, она закрепляется и закрывается
Магнитный уплотнитель будет ее удерживать до полного закрепления
Внимание! Очень важно не перетянуть болты. Потому стоит рассчитывать силу закручивания.
Следующий этап – перестановка двери в морозильной камере
Кстати, уплотнитель двери для холодильника Атлант снимается, в случае перестановки
То же происходит с дверцей на морозилке.
Чтобы снялась сама дверца, необходимо немного приподнять и вытащить полукольцо, которое является стопором. Далее дверка просто приподнимается и вытаскивается.
На противоположную сторону прибора прикручиваем фиксатор защелки. Втулку верхней оси нужно вытащить и установить на требуемой стороне.
Навес для дверцы необходимо будет докупить в соответствии с той стороной, куда будет переставляться полотно. Все потому, что эта деталь изготавливается и устанавливается исключительно под определенную сторону. При перестановке дверца перекосится.
После установки дверца снова фиксируется пластиковым полукольцом.
Статья по теме: Как сделать забор из шифера своими руками: варианты и особенности установки
Как только все работы выполнены, холодильник можно протирать и включать
Очень важно перепроверить, насколько плотно закрывается дверца морозильной камеры и холодильника. Если полотно морозилки не будет плотно прикрываться, вскоре после работы ее будет невозможно закрыть из-за собравшегося по краям льда
А с нарушением герметичности камеры нарушатся условия хранения продуктов. То же касается и холодильника. Он рассчитан на определенную температуру. Если двери неплотно прилегают, внутри камеры будет собираться конденсат, из-за конфликта температур могут возникнуть проблемы с работой всей системы охлаждения.
Почему ломаются датчики в холодильниках?
Причин выхода из строя термодетекторов не так и много. Основной является его естественный износ — любая деталь со временем вырабатывает свои резервы и нуждается в замене.
Датчик температуры холодильника стоит не очень дорого. Кто-то может попытаться с этим поспорить, что мол вот на такой-то холодильник этот прибор стоит великих денег! Позвольте возразить — замена термодетектора, стоящего этих «великих денег» обойдется вам, в любом случае, дешевле покупки нового холодильника. Гораздо более выгодно — вовремя распознать поломку анализатора и поменять его, пусть за 2, 3, 4 тысячи, чем пустить этот момент на самотек и выложить в дальнейшем от десяти тысяч за замену компрессора или и того больше на покупку нового холодильника.
Так что, прежде чем подвергать сомнению утверждение о недороговизне термодатчиков, проверьте — сколько вам придется заплатить, если сломанный детектор выведет из строя другие системы.
Другой причиной может являться перепад напряжения в рабочей сети. Как любой другой электроприбор, термодатчик может перегореть, если в квартире плохая проводка или наблюдаются сбои в работе сети, а розетки в помещении не очень хорошие.

Существуют и другие причины, но они не столь частые и потому на них можно не заострять внимание (механические повреждения, производственный брак и т.д)
Почему важна опция переноса

Покупая холодильник, люди рассчитывают на долгосрочное использование агрегата, минимум на 8-10 лет. За это время понадобится и ремонт кухни, и перестановка в связи с новым интерьером, и возможный переезд.
Холодильнику может понадобиться перемещение на новое место и не факт, что дверца с правосторонним открыванием будет удобна в использовании хладоагрегата – первый вариант.
Второй вариант – открывание морозильной и охлаждающих камер в разные стороны. Здесь также не обойтись без перевешивания дверей.
Вариант третий – повреждение дверок, когда потребуется их замена или ремонт, для чего их потребуется снять, не повредив корпус холодильника.
Замена лампочки
Все работы следует производить после отключения холодильника. Если внутри камеры установлен люминесцентный источник света, перед заменой необходимо закрыть продукты полиэтиленом, а лучше всего освободить пространство. Это обусловлено тем, что такие лампы содержат пары ртути, что может привести к отравлению при деформации колбы.
Инструкция по демонтажу перегоревшего источника света и установке новой лампочки отличается в зависимости от марки. Кроме того, на принцип крепления влияет и месторасположения осветительного элемента. Возможные варианты:
- на верхней панели;
- на боковой стенке;
- на задней панели;
- на козырьке.
Лучшим по качеству освещения является способ установки лампы на боковой или задней панели. Если источник света расположен вверху, нижние полки будут освещены хуже. Менее предпочтительным является вариант монтажа на козырьке. Замена лампы в холодильнике выполняется проще и быстрее, если она расположена ближе к дверце, например, сбоку от нее в верхней части. Здесь до лампы проще добраться. Нет необходимости освобождать камеру от продуктов и вытаскивать полки.
В холодильнике Индезит
Если по каким-то причинам нельзя изучить инструкцию к холодильнику, следует ориентироваться на общую схему установки источника света. Это обусловлено сходством конструкций разных типов (с капельной системой, Фрост Ноу), единым принципом крепления патрона. Наиболее часто в моделях устройств Индезит плафон расположен на потолочной или боковой панели. Последовательность действий:
демонтируется прозрачная часть плафона, для этого понадобится отвертка;
дополнительно корпус удерживается посредством защелок, после этого откроется доступ к лампе;
выкручивается источник света, на его место устанавливается исправный аналог, причем важно, чтобы он не был крупногабаритным.
Люминесцентные лампы не выкручиваются, как в случае со светодиодными изделиями. Они просто вытаскиваются.
В холодильнике Атлант
У большинства моделей конструкцией предусматривается установка плафона, который надежно зафиксирован посредством крепежа. Когда выполняется замена лампочки в холодильнике Атлант, нужно подобрать источник света с такой же мощностью и цоколем. Если колба превосходит ранее установленную лампочку по размерам, плафон не получится вернуть на место после демонтажа. Замена в холодильнике Атлант выполняется по инструкции:
- выкручивается крепеж, который фиксирует плафон, если этому препятствуют полки, их нужно убрать, а затем снять часть корпуса светильника;
- иногда требуется отсоединить контакты, если установлена лампа дневного света (в виде трубки), когда же внутри расположено изделие с цоколем, его демонтировать легче;
- после установки исправной лампочки все действия выполняются в обратном порядке.
Бирюса
Конструкцией таких агрегатов предусматривается возможность установки лампы накаливания. В этом случае необходимо подцепить плафон отверткой, одновременно сжать его по бокам. Корпус не зафиксирован крепежом. Светильники этой марки часто соединены с термодатчиком и выключателем.
В некоторых моделях предусмотрено светодиодное освещение. Причем используются не лампы со стандартным цоколем, а блоки на базе светодиодов. Тогда нужно выкрутить крепеж по бокам плафона. Когда эта часть светильника демонтируется, его снимают вместе со светодиодным блоком, затем отсоединяют контакты. Поменяв в холодильнике Бирюса осветительный элемент, возвращают плафон на место.
Samsung
В большинстве случаев лампа соединена с контактами или разъемами. В холодильнике Самсунг необходимо сначала демонтировать плафон. Для этого выкручивают винты. После установки нового осветительного элемента все действия выполняют в обратной последовательности: соединяют контакты, фиксируют плафон крепежом. В некоторых моделях предусмотрена защитная полоса на осветительном приборе. Ее убирают перед началом работы.
Hotpoint-ariston
В данном случае инструкция несложная: откручивается винт, плафон снимать не нужно, его можно просто отогнуть от корпуса светильника, затем меняете в Хотпоинт Аристон лампочку. После этого останется вернуть плафон на место и зафиксировать его. По простоте процесса замены лампы холодильники Hotpoint-Ariston лидируют.
Советы и лайфаки

Сборка может осложниться отсутствием отверстий для крепежа на противоположной части агрегата. В такой ситуации необходимо просверлить их самим. Такую процедуру не стоит делать в одиночку, если ошибиться хотя бы на миллиметр, дверь будет перекашивать и скрепеть.
- Перед началом работ обесточьте холодильный прибор.
- Извлеките продукты, помещенные на полки внутренней стороны дверцы.
- Все манипуляции осуществляйте аккуратно, стараясь сохранить гладкость глянцевых поверхностей, отсутствие вмятин на двери.
- Чтобы не забыть порядок действий, запишите их на видео.
- Снятые болты складывайте в специально приготовленный контейнер или лоток.
Особенности переноса двери
Существует ряд ситуаций, когда необходимо переместить дверцу холодильника на противоположную сторону:
- Хозяин — левша.
- Планировка кухни не позволяет использовать холодильник, дверца которого открывается в правую сторону.
Как правило, прилагаемая к технике инструкция подробно указывает не только технические характеристики агрегата, но и как перенести дверные крепления.
Если руководство по эксплуатации утрачено, то стоит просто осмотреть технику на наличие специальных пластиковых заглушек на противоположной петлям стороне. Если таковые имеются, то возможность перевешивания дверей предусмотрена в данной модели.
Самостоятельная перестановка двери холодильника
Нам понадобится:
- скотч (малярный или обычный широкий);
- набор отверток;
- гаечный ключ.
Как перевесить дверцу на другую сторону:
Изображение
Описание
Шаг 1
Обесточьте прибор, вытащив вилку из розетки. Продукты и заморозка должны быть предварительно перенесены в другое прохладное место.
Шаг 2
Аккуратно уберите пластиковые заглушки с мест креплений плоской отверткой.
Шаг 3
Для предотвращения внезапного падения дверцы или деформации крепления во время процесса перестановки желательно прикрепить ее к корпусу с помощью малярного скотча.
Шаг 4
При перестановке дверей начинать снимать крепления необходимо сверху вниз, а закреплять в обратном порядке.
Поэтому первым отсоединяется верхнее крепление
фото), поэтому с демонтажем нужно быть аккуратнее.
Уберите штифт вращения и осторожно выкрутите болты со средней петли. Шаг 7
Шаг 7
Снимите последнее нижнее крепление, открутив соответствующие болты, снимите дверь, предварительно убрав малярный скотч.
Шаг 8
Поместите пластиковые заглушки, если таковые имеются, в освободившиеся отверстия в корпусе холодильника.
Шаг 9
Если дизайн и форма дверной ручки предусматривают смену ее местоположения для удобного закрывания/открывания при перемещении петель, то ее также необходимо перенести на противоположную сторону дверцы.
Найдите пластиковые заглушки с внутренней стороны ручки и снимите их. Выкрутите шурупы, снимите ручку.
Проделайте те же самые манипуляции, но в обратном порядке, когда будете устанавливать ручку на другую сторону.
Шаг 10
Прикручивая дверные петли к нужной стороне, повторите в обратном порядке шаги 4–7.
Начинать необходимо с установки нижнего крепления, затем устанавливаем среднее с механизмом вращения, и, наконец, монтируем верхнюю петлю.
Шаг 11
Когда все будет готово, проверьте плотность закрывания каждой холодильной дверцы. Визуально осмотрите прижимную резинку на наличие щелей.
Как поменять петли на дверце с ЖК дисплеем
Как переставить дверь на холодильнике с электронным дисплеем, знают лишь опытные специалисты и те, кто знаком с устройством современной бытовой техники достаточно хорошо. Поэтому если вы сомневаетесь в своих силах, то в таком случае лучше доверить дело специалистам.
Сложность всей процедуры в том, что в верхней части корпуса имеется специальный шлейф проводов, который необходимо крайне аккуратно перебросить на нужную сторону.
Если описывать процесс вкратце, то нужно:
- открутить защитную крышку в корпусе, которая защищает шлейф проводов;
- отсоединить ту часть, которая питает дисплей двери;
- снять дверь, руководствуясь советами выше;
- в верхней части двери будет пластиковая крышка, скрывающая провода, нужно ее снять;
- перекинуть провода, которые идут через петлю на противоположную сторону. Петлю предварительно необходимо разобрать;
- собрать крепление двери обратно, установив его с нужной стороны, не забудьте про шлейф проводов;
- закрепить защитную крышку на дверце;
- после установки двери подсоединить шлейф проводов к остальной проводке в верхней части корпуса холодильника;
- закрыть проводку защитной крышкой;
- проверить работоспособность бытовой техники.
Особенности перевешивания у популярных производителей
При перевеске двери холодильника нужно учитывать особенности конструкции, предусмотренные производителем.
Атлант
Порядок перевешивания дверей в холодильнике Атлант включает следующие этапы:
- Удаление декоративной панели. Крестовой отверткой вывинчивают крепежные элементы, планку тянут на себя. Под ней у холодильника вышеуказанной марки находится слой теплоизоляционного материала. Перед началом монтажных работ пенопласт вынимают и убирают в сторону.
- Снятие верхней петли. Крепление представляет собой пластину со штырем, на котором держится дверца. С другой стороны установлена планка с резьбой. Болты этих деталей вывинчивают шестигранником. Дверь при выполнении перестановки закреплять малярной лентой необязательно.
- Снятие дверцы морозилки. После откручивания крепежных изделий элемент отсоединяют от штыря и приподнимают вверх. Если холодильник двухкамерный, нужно снять дверь и с оставшейся петли. После этого удаляют колпачки болтов. Среднюю петлю полностью снимают, дверь приподнимают и откладывают в сторону.
- Снятие нижнего крепления. Эта деталь в холодильнике Атлант также скрыта под декоративной накладкой, которую нужно убирать. После этого выполняется перестановка петли.
Чтобы перевесить дверцу на другую сторону, вышеуказанные действия для другой стороны корпуса выполняют в обратном порядке.
Bosh
Дверь холодильника Bosch переустановить не сложно, однако перед началом работ нужно изучить инструкцию
Особое внимание обращают внимание на присутствие дополнительных элементов. Начинают перевешивание с удаления заглушек и откручивания крепежных изделий
После этого с двери снимают поворотные петли и ручку. Детали переставляют на другую сторону корпуса. При ремонте холодильников с дисплеем выполняют следующие действия:
- снимают верхнюю крышку прибора и ищут кабели;
- разъединяют контакты, записывая свои действия на бумаге;
- снимают дверцу верхнего отсека и удаляют панель, скрывающую кабели;
- откручивают петлю, контакты переставляют на другую сторону, монтаж выполняют в обратном порядке;
- кабели закрывают панелью, контакты соединяют.
Индезит
Чтобы перенавешать фасады холодильника Индезит, нужно выполнить следующие действия:
- осмотреть прибор и убедиться в возможности переустановки (не все модели снабжены соответствующими отверстиями);
- отключить аппарат от сети электропитания, извлечь содержимое камер;
- демонтировать ручку, вынуть заглушки из отверстий, расположенных в месте предполагаемой установки;
- открутить нижние и верхние болты;
- снять поворотные шарниры и дверцу;
- изменить расположение деталей (элементы переставляют на противоположную сторону корпуса);
- вышеуказанные действия выполнить в обратном порядке, собирая холодильник;
- отрегулировать положение петель.
В некоторых моделях холодильных установок «Индезит» поменять положение элементов корпуса без использования дополнительных деталей невозможно. Чаще всего изделия входят в комплект поставки прибора. Датчик закрытия находится в центральной части корпуса, переставлять его не нужно.
Samsung
Чтобы перевесить дверь холодильника Samsung нужно снять крышку прибора и отсоединить провода. После этого откручивают петли и переносят их на левую сторону. Расположенную в нижней части корпуса скобу переставляют, изменяя направление движения. Конструкция приборов марки Samsung предусматривает наличие ограничителя открывания морозилки, который также нужно перенести на левую сторону. После установки элементов подсоединяют провода, крышку возвращают на место.
LG
Холодильники LG снабжены шарнирами, которые откручиваются отверткой с подходящей насадкой. Дверь после снятия с крепления может упасть, поэтому ее нужно зафиксировать малярным скотчем, наклеивая его по всему боку
При выполнении работ соблюдают осторожность. При деформации шарниров установить дверь будет невозможно
Современные устройства имеют электронный блок управления, провода которого нужно развернуть в обратную сторону. Скрываются кабели под декоративной панелью и накладкой верхней петли.
Ariston
Вместе с холодильником Hotpoint-Ariston не поставляются пластиковые вкладыши для изменения места крепления. При возникновении подобной проблемы можно попробовать поменять верхние и нижние петли местами. Это обеспечивает зеркальное стандартному расположение деталей.
Функциональные возможности Аристон-Хотпоинт включают индикацию открывания. Для этого конструкция предусматривает специальный датчик. Человек, который хоть раз перевешивал фасады холодильника Аристон, без труда найдет деталь. Ее вынимают из корпуса и переставляют в соответствующее отверстие противоположной стороны.
Поэтапная замена/перевешивание двери в холодильниках Атлант
Подготовительный этап
Перед тем, как перевесить двери, необходимо освободить место возле холодильника, вынуть изнутри устройства все продукты и отключить от сети. Холодильник можно оставить стоять, но удобней будет работать, а в особенности откручивать нижнюю петлю, если положить его плашмя на пол.
Для работы потребуются:
- Нож, шпатель или плоская широкая отвертка, которой будут поддеваться заглушки и декоративные накладки;
- Крестовая отвертка;
- Ключ для внутреннего шестигранника №5 (т.е. диаметром 5 мм);
- 2 обычных или торцовых гаечных ключа размеров 5 и 10 мм.
Вначале производится осмотр холодильника на предмет доступа к крепежу, который скрыт пластиковыми заглушками либо декоративными панелями. Их аккуратно демонтируют, не повредив, чтобы потом можно было повесить обратно.
Если холодильник двухкамерный, и перевесить надо обе дверцы, то процесс ничем не отличается от работы с однокамерным холодильником.
Снимаем декоративную планку
При помощи крестовой отвертки откручивают т.н. маску – пластиковую панель, закрывающую верхнюю петлю двери холодильника, и снимают ее, слегка потянув на себя. Под этой панелью располагается теплоизоляционный слой пенопласта. Этот материал достаточно легко крошится и ломается, поэтому на время всех работ по перевешиванию дверцы его нужно аккуратно извлечь и отложить в сторону, чтобы не повредить.

Далее дверцу морозилки (если это двухкамерный холодильник) или всего холодильника целиком (если он однокамерный) можно убрать. Для этого ее открывают настежь и поднимают вверх с нижнего крепления, аккуратно придерживая, чтобы не погнуть крепление в процессе.
Снимаем среднюю панель
Если холодильник двухкамерный, т.е. помимо собственно холодильника наверху имеется и морозильная камера, то помимо петель сверху и снизу будет еще одна посередине между дверцами двух отделений.

Когда дверь морозилки снята, то доступ к болтам этой средней петли становится достаточно удобным. С них снимают декоративные колпачки в цвет холодильника и откручивают. Потом, как в случае с дверью морозилки, дверь холодильника открывают, приподнимают и снимают с нижнего крепления. После чего становится возможным демонтировать нижнюю петлю.
Если холодильник достаточно старый, то возможно на нем уже успела прийти в негодность уплотнительная резина, обеспечивающая герметичность камер холодильника. Раз уж дверцы все равно снимаются, то сменить или хотя бы отремонтировать уплотнитель может быть хорошей идеей.
Перенавешиваем нижние петли
Нижняя петля также скрыта под декоративной планкой, которую необходимо аккуратно снять. После этого уже можно откручивать петлю с одной стороны и переставлять ее на другую, а затем снова устанавливать декоративную планку на место.

Пока двери с холодильника сняты, удобно переставить на них ручки. Для этого с них снимают верхнюю часть, закрывающую крепления, выкручивают эти крепления, прикрепляют нижнюю часть с противоположной стороны и снова защелкивают верхнюю часть.
Проводим монтаж петель и двери
После перестановки и закрепления нижней петли, на нее осторожно надевают дверь, придерживая ее, прикручивают среднюю петлю. На этом этапе, пока болты еще не закручены, нужно отрегулировать вертикальное расположение двери
Это можно сделать и на глаз, но лучше воспользоваться уровнем. Дверца морозилки крепится аналогичным образом. Работа облегчается тем, что она весит куда меньше, чем дверь основного отделения.
На каждой петле для уменьшения силы трения между дверью и петлями в их конструкции присутствуют прокладки – кусочки пластика
При перевешивании двери очень важно их не потерять и не забыть надеть обратно
Холодильник Атлант рассчитан на перевешивание двери с одно стороны на другую. Это означает, что на дверце и самом холодильнике предусмотрены отверстия под петли и ручки с обеих сторон. На той стороне, где они не используются, они закрыты заглушками в цвет холодильника. Соответственно, при перевешивании двери эти заглушки необходимо переставить на другую сторону. Поскольку отверстия на рабочей стороне со временем иногда разбалтываются, их может быть необходимо уплотнить бумагой или попросту посадить заглушки на клей, чтобы они не вываливались.
После монтажа верхней петли на место укладывают лист пенопласта, если он был ранее вынут, и устанавливают декоративную панель.
При наличии накладных ручек поменяйте местами ручки.
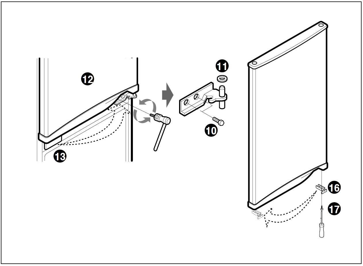
Демонтаж верхней петли холодильника
Как только декоративная пластиковая панель снята, становится возможным снять крепление верхней петли, которая представляет собой планку со штырем, благодаря которому дверца и держится. Аналогичная планка с резьбой под штырь присутствует с другой стороны. Болты планки выкручивают ключом-шестигранником или гаечным ключом. В принципе, пока откручивается верхняя петля, дверь может удержаться и на уплотнителе, но на всякий случай ее дополнительно закрепляют скотчем.

Далее дверцу морозилки (если это двухкамерный холодильник) или всего холодильника целиком (если он однокамерный) можно убрать. Для этого ее открывают настежь и поднимают вверх с нижнего крепления, аккуратно придерживая, чтобы не погнуть крепление в процессе.
Перевешиваем дверь холодильника Атлант
Примерная последовательность действий, ожидающая хозяина, ломающего голову, задумавшего перевесить дверь холодильника:
- Внешний осмотр холодильника с целью определения доступа, крепежа. При необходимости нужно будет убрать лишние вещи. Касается продуктов, украсивших лотки дверцы.
- Обычно верхняя декоративная панель блокирует доступ к верхней петле. Придется провести демонтаж мешающих (декоративных) деталей.
- Демонтаж верхней петли, перестановка заглушек. Снятие верхней дверцы.
- Демонтаж центральной петли, работа с заглушками. Снятие нижней дверцы.
- Перестановка нижней петли.
- Сборка всей конструкции в обратном порядке.
А теперь посмотрим, как это все выглядит на примере двухкамерных холодильников Атлант, где морозильник находится сверху.

Демонтаж дверей верхней декоративной панели холодильника Атлант
Процесс начинается верхней декоративной панелью холодильника. Прячущей кронштейн, образующий верхнюю петлю створки морозильника (находится вверху). Удерживается декоративная панель холодильника двумя саморезами, головки можно легко обнаружить, потрудившись поискать. Отвинчивайте «бочонком». Отвертка, снабженная толстой короткой ручкой. Пользующиеся «бочонком» холодильник от стены не отодвигают. Расстояние маленькое, но отвертка туда влезет.
Напоминаем: у Атлантов стенные упоры крепятся на декоративную панель. Кажется абсурдным, на практике работает. Снимать упоры или нет, решайте сами. Предварительно верх холодильника нужно освободить от всяческих женских штучек, украшений. Цветы, скатерти, телевизор. Предлагаем сделать фото в нескольких ракурсах, холодильника до начала проведения работ. Поверьте, помогает обратно расставить.
Саморезы откручены, нужно потянуть декоративный элемент холодильника вперед. Задняя кромка поднимается вверх. Имеете шансы увидеть под панелью лист пенопласта. Теплоизоляция холодильника
Действуйте осторожно, опасаясь навредить. Панель нужно аккуратно убрать в сторону
Во многих холодильниках можно видеть фронтальный стальной порог, выступающий опорой панели. Снимать обычно отсутствует необходимость, деталь бессильна помешать демонтажу двери морозильной камеры.

Доктор Айболит дорабатывает медицинский холодильник
Демонтаж верхних петель холодильника Атлант
Верхняя петля представлена пластиной с вкрученным по углу штырем, удерживающим дверь. С противоположной стороны холодильника видим совершенно аналогичную деталь. Штырь отсутствует, зато резьба наличествует. В видеоинструкциях рекомендуется дверь холодильника прилепить скотчем. Добавим, в большинстве случаев достаточно удерживать рукой. Дверь неплохо прилепилась резиновым уплотнителем к корпусу холодильника.
Болты, удерживающие пластины, совершенно обычные. Снимайте обе. Штырь нужно выкрутить, конструкция не является симметричной. Руководствуясь обстоятельствами, проделайте необходимые операции. Понадобится ключ-шестигранник. Настало время перенести заглушку отверстия двери с неиспользуемого ранее участка. Делать проще тонкой шлицевой отверткой
Обратите внимание, на разработанной стороне отверстие толще, придется уплотнить заглушку слоем бумаги
Важно загнать декоративный элемент полностью, препятствуя двери цеплять верхнюю панель холодильника Атлант
Как перевесить дверь холодильника Атлант
Перепланировка кухни, покупка новой мебели или ее перестановка, приводит к необходимости перевесить дверь такого незаменимого бытового прибора, как холодильник. Эта статья поможет владельцам изделий популярного бренда «Атлант», так как именно они обладают способностью к изменению положения ряда элементов.

Конечно, лучше обратиться за помощью к специалистам, которых можно найти на сайте https://holodservice.com.ua/repair/remont-refrigerator-atlant.html. Обязательно это сделать, если холодильник еще на гарантийном сроке. Если же он истек, то при желании справиться с задачей самостоятельно воспользуйтесь нашими рекомендациями.
Просела дверь холодильника. Как приподнять перекошенную дверь холодильника?

Как-то уже обычно в наше время брать дорогие завезенные из других стран холодильники и даже не мыслить о том, что и они ломаются. Приобрели с гарантией, поставили, подключили, загрузили до верха продуктами, нажали кнопки и запамятовали о нём. До поры.
Как бы ни было, а рано ли поздно, неважно какая техника ломается, ничего нескончаемого нет. Будь то телек с плоским экраном либо пылесос моющий, стиральная машина
Вопросец времени и правильной эксплуатации.
Вот и поломке холодильника настало время. Стал плохо закрываться (сигналит, что дверь открыта). Возник снежный налёт на стенах, влага. Что-то с дверью вышло. Установлен холодильник верно, от стенки, как полагается, на 5 сантиметров.
1-ая причина. Нарушилась плоскость. Промерить уровнем вертикальность и горизонтальность холодильника. Он должен стоять ровно, без наклона в стороны либо вперёд. Слегка назад, допускается. Ежели стоит не ровно, подкрутить ножки шкафа холодильника.

2-ая причина. Самая очевидная из обстоятельств и нередко встречающаяся. Что-то мешает в самом холодильнике, к примеру, ручки кастрюли, сковороды. Устраняется неувязка просто. Убирается всё лишнее. 3-я причина. Перегрузка двери продуктами. От перегрузки она «даёт» перекос, вследствие что закрывается неплотно.
Убрать с двери тяжёлые предметы, продукты. Четвёртая причина. Петли двери просели. Отрегулировать петли с помощью гаечного ключа либо отвёртки. Традиционно подтягивают верх.
5-ая причина. Уплотнитель высох либо сплюснут. Есть старенькый проверенный способ проверки зазора меж шкафом и закрытой дверью холодильника. Берёте полоску обычного тетрадного листа, подносите к проёму и закрываете дверь. Опосля этого начинаете тянуть полоску. Ежели полоса будет растягиваться с усилием, то в этом месте уплотнитель плотно прижат к шкафу, ежели будет свободно растягиваться, означает, в этом месте имеется зазор. Снять старенькый уплотнитель, взять с собой в магазин для примера, приобрести таковой же. Приклеить либо прикрутить (в зависимости от марки холодильника). Для профилактики, уплотнитель нужно время от времени протирать увлажненной тряпочкой, от грязищи и смазывать растительным маслом.

Шестая причина. Поломка распорной детали. Она как доводчик, помогает плавненько закрываться. При её поломке дверь сама отталкивается при закрывании. Изготовлен этот элемент из пластика. Деталь эта стоит не во всех холодильниках, но как знать, возможно, в вашей двери она стоит. Основная причина её поломки чрезмерное усилие при закрывании. Самому лучше не поменять, вызвать мастера.

























































